
【产品用途】
集团生产的Z61Y-250、Z61Y-320 型高压电站闸阀:手动、对接焊毗连形式、明杆楔式刚性单闸板,,,,,阀座密封面质料为硬质合金,,,,,公称压力 PN250~PN320,,,,,阀体质料为碳素钢的高温高压电站闸阀。。。。。。
【结构特点】
高温闸阀也称电站专用阀门,,,,,主要用于火力电站种种系统的管路上,,,,,切断或接通管路介质。。。。。。适用介质:水、蒸汽等非侵蚀性介质。。。。。。电站阀门与其他阀门产品相比的特点是高温高压,,,,,奇异的自密封设计,,,,,压力越高,,,,,密封越可靠。。。。。。由于性能手艺特征,,,,,工况的特殊使产品也形成了其他产品所取代不了的特点。。。。。。
1、启闭无摩擦。。。。。。这一功效解决了古板阀门因密封面之间相互摩擦而影响密封面的问题。。。。。。
2、上装式结构。。。。。。对装在管路上的阀门可直接在线检查与维修,,,,,能有用镌汰装置停车,,,,,降低本钱。。。。。。
3、单座阀设计。。。。。。消除了阀门中腔介质因异常升压而影响使用清静的问题。。。。。。
4、低扭矩设计。。。。。。特殊结构设计的阀杆,,,,,只需配一个小手把阀门就能轻松启闭。。。。。。
5、楔形密封结构。。。。。。阀门是靠阀杆提供的机械力,,,,,将闸板楔压到阀座上而密封,,,,,使阀门的密封性不受管线压差转变的影响,,,,,在种种工况下密封性能都有可靠包管。。。。。。
6、密封面的自清洁结构。。。。。。当闸板倾离阀座时,,,,,管线中的流体沿闸板密封面成360度匀称通过,,,,,不但消除了高速流体对阀座局部的冲洗,,,,,也冲走了密封面上的群集物,,,,,抵达自清洁的目的。。。。。。
【设计标准】
设计标准:GB/T 12234-2007
结构长度GB/T 12221-2005
对焊毗连尺寸NB/T 4704-2014
试验与磨练NB/T 4704-2014
压力-温度:NB/T 4704-2014
【性能参数】
|
型号 |
PN |
事情压力/MPa |
适用温度/℃ |
适用介质 |
阀体 |
|
Z61Y-250 |
250 |
25 |
≤570 |
水、蒸汽 |
WC9 |
|
Z61Y-320 |
320 |
32 |
≤570 |
水、蒸汽 |
WC9 |
【主要零件质料】
|
型号 |
质料 |
||||
|
阀体 |
阀板 |
阀盖 |
阀杆母 |
填料 |
|
|
Z61Y-250 |
WC9 |
WC9 |
WC9 |
38CrMoA1A |
柔性石墨 |
|
Z61Y-320 |
WC9 |
WC9 |
WC9 |
38CrMoA1A |
柔性石墨 |
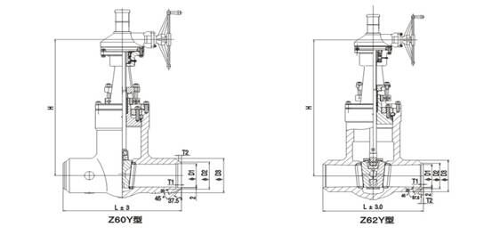
【主要形状和毗连尺寸】
|
DN |
L |
D |
H |
D0 |
重量/Kg |
|
50 |
280 |
82 |
585 |
300 |
42 |
|
65 |
340 |
110 |
650 |
320 |
53 |
|
80 |
475 |
130 |
680 |
400 |
130 |
|
100 |
500 |
170 |
755 |
450 |
180 |
|
125 |
600 |
195 |
830 |
500 |
190 |
|
150 |
700 |
225 |
1050 |
550 |
320 |
|
175 |
750 |
255 |
1050 |
600 |
400 |
|
200 |
800 |
285 |
1050 |
650 |
550 |
|
225 |
850 |
300 |
1100 |
700 |
600 |
【结构图片】

